天津金优凯获得燃气掺氢气静态混合器专利保证混合元件在运用的过程中的稳定性
高评分厂家汇总:靠谱的静态混合器厂家实力盘点
靠谱的静态混合器厂家实力盘点与选型指南
德国STRIKO食物用静态混合器EREstat
迈开泰请求规整填料、静态混合器及气液反应器专利完成混合器小型化
聚结器 气液聚结别离器 可定制
助高原官兵圆梦现代氧吧
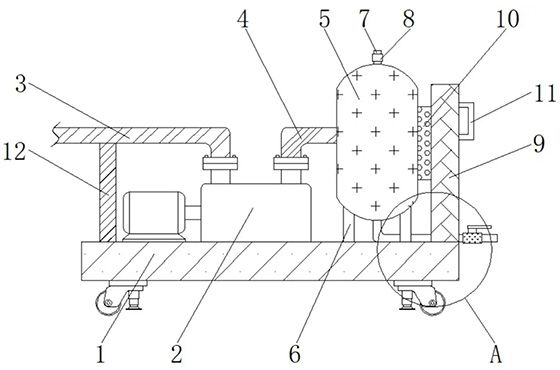
一种气液分离聚结器及调节方法和反冲洗方法与流程
天然气气液聚结器的基础知识
每天喝的水安全吗?家庭饮水最大风险点在哪?一篇说清
企业信用等级证书
CTC质量管理体系认证证书
CTC Certificate of Registration
特稿:风雪中那坚挺的脊梁 用镜头定格中州奋斗瞬间
1月20日,当瑞雪漫卷中州大地,天地间尽是银装素裹的清冷。有一群身影,以坚守为炬,在风雪中点亮了
2026年智能水表厂家推荐:NB物联网智慧水务城乡改造管网漏损分析DMA分区管理等全场景水表源头实力品牌精选
随着智慧城市建设的深入推进与水资源精细化管理的迫切需求,智能水表已从单一的远程抄表工具,演变为集
我国轮胎内胎商场现状剖析及远景猜测陈述
《我国轮胎内胎商场现状剖析及远景猜测陈述》是中经先略根据轮胎内胎商场现在的状况进行深度全方面剖析
华宝科技ETF联接C
净值预算每个生意日9:30-15:00盘中实时更新(QDII基金为海外生意时段)。
让我们保持联系
第一时间获取我们的新产品、活动及新闻信息。
热线:15206181866